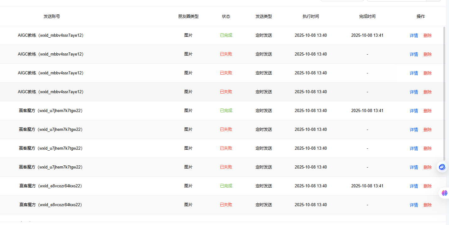
AI互动,添加朋友圈任务bug 志明-互联网老兵 4个月前 问题求助 143 见下图。 回复 共2条回复 我来回复 2043 这个人很懒,什么都没有留下~ 评论 您先试下一个微信号能不能正常发,这个问题我们记录下明天反馈给技术 赞同 4个月前 0条评论 志明-互联网老兵 这个人很懒,什么都没有留下~ 评论 赞同 4个月前 0条评论 请 登录 或者 注册 后回复。 相关问题 ai手机授权问题 6天前 1 29 为什么后面更新都会出现这个提示 6天前 1 42 视频号发布出现问题,发布失败,会莫名其妙的去改昵称信息 2周前 1 60 OEM 流程是什么 2周前 1 46 日志运行异常,ffmpeg -i 是可以运行的,怎么来了一个ffmpeg6 -i 2周前 2 40 日志运行异常,是少了什么文件吗 2周前 1 37 系统问题百问百答 2周前 0 36 root手机刷会无root模式教程 2周前 0 34 源码下载入口 2周前 0 39 无ROOT版本的配置和有ROOT版本配置的区别 2周前 1 42